|
 Aufgabe: Für das skizzierte System (links) sind die Absenkung des Kraftangriffspunktes und die Horizontalverschiebung des Punktes C zu berechnen. Es sind ausschließlich die durch die Biegemomente hervorgerufenen Verformungen zu berücksichtigen.
Gegeben: F, a, EI = konstant (für alle Bereiche)
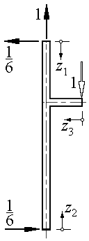
Rechts sind die (aus Gleichgewichtsbedingungen am Gesamtsystem leicht zu ermittelnden) Lagerreaktionen eingezeichnet, außerdem die (beliebig zu wählenden) Koordinaten, für die die Biegemomentenverläufe formuliert werden sollen. Mit den skizzierten Koordinaten können die Funktionen für die Biegemomente z. B. in der Form
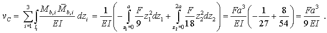
aufgeschrieben werden. Die Absenkung des Angriffspunktes der Kraft F ergibt sich nach der Formel für das Einheitslastverfahren (unter ausschließlicher Berücksichtigung von Biegemomentanteilen), die hier für 3 Abschnitte als Summe formuliert werden muss:
 Es müssen also noch die Biegemomente infolge einer (dimensionslosen) Einheitslast an der Stelle und in Richtung der gesuchten Verschiebung ermittelt werden. Das linke Bild zeigt die Einheitslast am Angriffspunkt der Kraft F und die von der Einheitslast hervorgerufenen Lagerreaktionen. Damit ergeben sich die Momentenverläufe:
Damit errechnet man die Absenkung des Angriffspunktes der Kraft F:
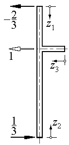
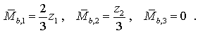
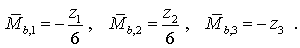
Die Skizze rechts zeigt die Einheitslast für die Berechnung der Horizontalverschiebung des Punktes C und die von ihr hervorgerufenen Lagerreaktionen. Die zugehörigen Biegemomentenverläufe sind:
Damit berechnet sich die Horizontalverschiebung des Punktes C:

|